Can't use this link. Check that your link starts with 'http://' or 'https://' to try again.
Unable to process this search. Please try a different image or keywords.
Try Visual Search
Search, identify objects and text, translate, or solve problems using an image
Drag one or more images here,
upload an image
or
open camera
The photos you provided may be used to improve Bing image processing services.
Privacy Policy
|
Terms of Use
Drop image anywhere to start your search
To use Visual Search, enable the camera in this browser
All
Search
Images
Inspiration
Create
Collections
Videos
Maps
News
More
Shopping
Flights
Travel
Notebook
Top suggestions for VCM Lens
VCM
Logo
VCM
Coil
VCM
Motor
カメラ VCM
構造
VCM
介绍
VCM
Editor
VCM
Suite
VCM
马达
VCM
Medium
Порт
VCM
VCM
2
VCM
Camera
VCM
Volvo
VCM
Media
VCM
Test
VCM
Scanner
Em
VCM
Ford
VCM
VCM
Swab
VCM
Product
VCM
1
VCM
Medical
Honda
VCM
VCM
Dog
VCM
Pump
VCM
Structure
VCM
OTR
VCM
Unit
VCM
Interface
VCM
Group
Kia
VCM
VCM
Definition
VCM
Valve
VCM
Production
VCM
Election
VCM
Icon
Ois
VCM
VCM
Actuator
VCM
Car
VCM
Automotive
VCM
Driver
VCM
Camera Module
VCM
氯乙烯 装置 概念图片
Bosch VCM
2
Voice Coil Motor
VCM
VCM
Clinic
Rotunda
VCM
VCM
Bild
VCM
Industrial
Explore more searches like VCM Lens
Camera
Module
Production
Process
Final
Product
Process Flow
Diagram
Process
Control
Myanmar
Logo
How
Find
Editor
Icon
Lab
Test
Camera
Structure
Company
Logo
Performance
Logo
Data
Center
Lift
Truck
Loading
Station
Nissan
Sentra
Logo
png
Volvo
XC90
Ford
Mini
Honda
Pilot
OTR
Logo
Voice Coil
Motor
Diagnostic
Tool
Jaguar Diagnostic
for X300
Saudi Arabia
Logo
Honda
Odyssey
Full
Form
International
Logo
Vote Counting
Machine
Quench
Column
Blood
Test
2
Software
Que
Significa
Automotive
Reviews
Trust
Logo
Test-Tube
Tracing
Examples
Sales
IDs
WMV9
4$
Icon
Login
Mazda
Editor
Quest
Civils
Medium
People interested in VCM Lens also searched for
Organization
Chart
HS
Code
Cub
Cadet
13 Honda
Odyssey
Honda
Wiki
Machine
Exg42
01
II
Ford
2
Mazda
Company
Performance
Autoplay all GIFs
Change autoplay and other image settings here
Autoplay all GIFs
Flip the switch to turn them on
Autoplay GIFs
Image size
All
Small
Medium
Large
Extra large
At least... *
Customized Width
x
Customized Height
px
Please enter a number for Width and Height
Color
All
Color only
Black & white
Type
All
Photograph
Clipart
Line drawing
Animated GIF
Transparent
Layout
All
Square
Wide
Tall
People
All
Just faces
Head & shoulders
Date
All
Past 24 hours
Past week
Past month
Past year
License
All
All Creative Commons
Public domain
Free to share and use
Free to share and use commercially
Free to modify, share, and use
Free to modify, share, and use commercially
Learn more
Clear filters
SafeSearch:
Moderate
Strict
Moderate (default)
Off
Filter
VCM
Logo
VCM
Coil
VCM
Motor
カメラ VCM
構造
VCM
介绍
VCM
Editor
VCM
Suite
VCM
马达
VCM
Medium
Порт
VCM
VCM
2
VCM
Camera
VCM
Volvo
VCM
Media
VCM
Test
VCM
Scanner
Em
VCM
Ford
VCM
VCM
Swab
VCM
Product
VCM
1
VCM
Medical
Honda
VCM
VCM
Dog
VCM
Pump
VCM
Structure
VCM
OTR
VCM
Unit
VCM
Interface
VCM
Group
Kia
VCM
VCM
Definition
VCM
Valve
VCM
Production
VCM
Election
VCM
Icon
Ois
VCM
VCM
Actuator
VCM
Car
VCM
Automotive
VCM
Driver
VCM
Camera Module
VCM
氯乙烯 装置 概念图片
Bosch VCM
2
Voice Coil Motor
VCM
VCM
Clinic
Rotunda
VCM
VCM
Bild
VCM
Industrial
754×536
luminous-landscape.com
What is Canon VCM? Voice Coil Motor Lenses for RF Glass
1701×1134
en.axxonauto.com
VCM - Pioneer of Fluid dispensing System | Axxon
737×570
komachine.com
VCM Lens Machine (Application) by PSI - Komac…
2000×1125
www.canonrumors.com
Is the Next VCM Prime Lens an RF 14mm f/2L VCM? - Canon Rumors
Related Products
Blood Test
TV Stand
Cabinet
1920×1080
www.msn.com
Don't use Canon's new VCM lens if you've got a pacemaker. Seriously?
630×420
australianphotography.com
Canon announces RF35mm F1.4 L VCM lens - Australian Photography
1750×1400
canonwatch.com
Canon Announced The RF 35mm f/1.4L VCM Lens
1750×1400
canonwatch.com
Canon Announced The RF 35mm f/1.4L VCM Lens
1008×542
edge-ai-vision.com
Liquid Lens Autofocus vs Voice Coil Motor (VCM) Autofocus - Edge AI and Vision Alliance
5:06
amazon.com
Canon RF35mm F1.4 L VCM Lens
1680×1260
aetools.us
Ford VCM Lite – AE Tools & Computers
Explore more searches like
VCM
Lens
Camera Module
Production Process
Final Product
Process Flow Diagram
Process Control
Myanmar Logo
How Find
Editor Icon
Lab Test
Camera Structure
Company Logo
Performance Logo
1203×720
ronghuayxf.com
News - What is VCM in camera module?
800×439
ronghuayxf.com
News - What is VCM in camera module?
1000×667
www.ephotozine.com
Canon 35mm f/1.4L VCM Lens Review | ePHOTOzine
1420×946
provideocoalition.com
Canon RF35mm F1.4L VCM lens with hybrid video and still desig…
729×697
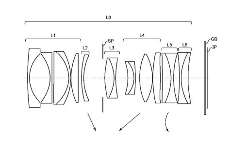
researchgate.net
(a) Overview of VCM lens structure. (b) Ba…
320×320
researchgate.net
(a) Overview of VCM lens structure. (b) B…
640×640
researchgate.net
(a) Overview of VCM lens structure. (b) B…
850×245
researchgate.net
Concept of VCM lens operation using Zemax simulation. (a) Static... | Download Scientific Diagr…
1282×900
www.the-digital-picture.com
In-Depth Canon RF 85mm F1.4 L VCM Lens Review
1800×1200
shanelongphotography.com
Canon RF35mm F1.4 L VCM | Lens Review - shanelongphotography.com
728×462
www.canonrumors.com
Canon Patent: RF 20mm F1.4 VCM, 21mm F1.4 VCM, 28mm F1.4 VC…
1600×900
www.the-digital-picture.com
First Looks at Canon RF 85mm F1.4 L VCM Lens Imaged Quality
650×471
www.the-digital-picture.com
Canon RF 35mm F1.4 L VCM Lens Review
1000×563
canon.ca
RF35mm F1.4 L VCM | RF Lens
600×403
www.the-digital-picture.com
Canon RF 50mm F1.4 L VCM Lens Review
People interested in
VCM
Lens
also searched for
Organization Chart
HS Code
Cub Cadet
13 Honda Odyssey
Honda
Wiki
Machine
Exg42
01
II Ford
2 Mazda
Company
650×609
www.the-digital-picture.com
Canon RF 24mm F1.4 L VCM Lens Review
800×800
made-in-china.com
16 * 16 VCM Autofocus Lens Motor Webcast VCM Coil Mo…
1050×700
e-consystems.com
M7 based VCM Archives - e-con Systems
1024×1024
ormsdirect.co.za
Canon RF 50mm f/1.4 L VCM Lens - Orms Direct - South Af…
940×940
canon.ie
Buy Canon RF 35mm F1.4L VCM Lens — Canon Ireland Store
940×940
canon.ie
Buy Canon RF 35mm F1.4L VCM Lens — Canon Ireland St…
940×940
canon.ie
Buy Canon RF 35mm F1.4L VCM Lens — Canon Ireland St…
940×940
canon.ie
Buy Canon RF 50mm F1.4L VCM Lens — Canon Ireland Store
300×300
made-in-china.com
The Screw M8 Autofocus Lens Motor VCM Voice Coi…
Some results have been hidden because they may be inaccessible to you.
Show inaccessible results
Report an inappropriate content
Please select one of the options below.
Not Relevant
Offensive
Adult
Child Sexual Abuse
Feedback